×
Ad

Jaring-jaring Balok Beserta Rumus untuk Mengetahui Ukurannya

Kholida Qothrunnada - detikEdu
Jumat, 25 Apr 2025 06:30 WIB
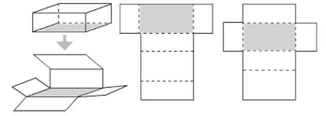
Ilustrasi jaring-jaring balok. (Ensiklopedia Rumus Matematika SD kelas 4, 5, 6 )
Jakarta -

Jaring-jaring balok adalah gambaran dua dimensi dari sebuah balok yang telah dibuka menjadi beberapa bidang datar. Balok sendiri merupakan jenis bangun ruang.

Setiap sisinya memiliki ukuran tertentu yang sesuai dengan panjang, lebar, dan tinggi balok. Dalam kehidupan sehari-hari, bentuk balok bisa kita lihat pada kulkas, lemari, maupun kotak pensil.

Mengenal Jaring-jaring Balok

Mengutip buku bertajuk Membuat Jaring-Jaring Bangun Ruang oleh Deni Eviliana, balok terdiri dari 6 persegi panjang yang punya susunan tertentu.

Kita perlu menyelidiki susunan persegi panjang tersebut merupakan jaring-jaring balok atau bukan. Caranya yaitu dengan memperhatikan salah satu sifat balok, yakni sisi-sisi yang berhadapan memiliki ukuran yang sama.

Ciri-ciri jaring-jaring balok:

  • Sisi-sisinya terdiri atas 3 macam persegi panjang yang berbeda ukuran, dengan masing-masing berjumlah dua.
  • Terdapat sisi yang berukuran sama yang berdekatan/menempel.
Gambar jaring-jaring balok. Foto: Ensiklopedia Rumus Matematika SD kelas 4, 5, 6.

Menghitung Ukuran Jaring-jaring Balok

Rumus Volume Balok

V = panjang (p) x lebar (l) x tinggi (t)

Contoh Soal

Sebuah balok diketahui memiliki panjang 7 cm, lebar 4 cm, dan tinggi 3 cm. Hitunglah volume balok tersebut!

Diketahui:

p = 7 cm; l = 4 cm; t = 3 cm

V = p × w × t

V = 7 × 4 × 3

V = 84 cm3.

Jadi, volume balok tersebut adalah 84 cm3.

Rumus Luas Permukaan Balok

L = 2 (p.l + p.t + l.t)

Contoh Soal

Sebuah balok berukuran panjang 20 cm, lebar 14 cm, dan tinggi 10 cm. tentukan luas permukaan balok?

Diketahui:

p = 20

l = 14

t = 10

Jadi, Luas Permukaan Balok =2(p+pt+lt)

= 2 x (20×14) + (20×10) + (14 x 10)

= 2 x (280 + 200 + 140)

= 2x620

= 1240 cm2

Jadi, luas permukaan balok itu adalah 1240 cm2.

Gambar Macam-macam Jaring-jaring Balok

Bentuk-bentuk jaring-jaring balok. Foto: dok. Buku Membuat Jaring-Jaring Bangun Ruang oleh Deni Eviliana.

Jaring-jaring balok. Foto: dok. Buku Membuat Jaring-Jaring Bangun Ruang oleh Deni Eviliana.

Dengan mengetahui jaring-jaring balok, detikers bisa lebih mudah memahami bentuk balok secara keseluruhan. Mulai dari menghitung luas permukaan, ataupun untuk menggunakannya dalam berbagai kegiatan praktis,seperti membuat kemasan atau menyusun benda dengan bentuk balok.



Simak Video "Manisnya Kue Balok Lumer dan Pho Real Khas Vietnam"

(khq/fds)
Berita Terkait
Berita detikcom Lainnya
Berita Terpopuler

Video

Foto

detikNetwork