detikOtoMinggu, 10 Okt 2021 19:02 WIB
Keren Abis! Hyundai Bakal Selipkan Monitor Mini pada Setir Kemudi
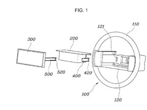
Hyundai dikabarkan sudah mematenkan salah satu ide mereka untuk menyisipkan monitor kecil berukuran ponsel di dalam setir kemudi.












































